专利: 一种高层建筑外墙喷涂智能机器人

申请号-:CN201720062414

申请日:2017.01.19

公开(公告)号-:CN206436255U

公开(公告)日:2017.08.25

IPC分类号:B25J11/00; B25J9/16; B25J19/02; E04F21/12; B25J19/04

申请(专利权)人:巨野七彩贝壳电子商务有限公司;

发明人:郭朝连;郭朝东;郭庆潇;司超超;张西昌;孔松艳;田品;李芳蕾;孔梦月;王建;王然然;

申请人地址:山东省菏泽市巨野县开发区老327国道西城派出所对面;

申请人邮编:274900;

摘要:本实用新型提供了一种高层建筑外墙喷涂智能机器人,属于高层建筑外墙喷涂设备技术领域。本实用新型的有益效果为:实现调整自动喷涂机械臂手垂直方向运动,固定套A内镶嵌有支撑杆,而支撑杆顶部铰接有转动轴A,转动轴A一端部与伺服电机A的输出轴连接,转动轴A的另一端连接旋转座,旋转座的固定套B连接伺服电机B输出轴,固定套B末端设有气雾喷枪,伺服电机A,伺服电机B的分别带动转动轴A转动,旋转座转动使得气雾喷枪能够360度旋转喷涂,整个装置布局合理,动作速度快、可以连续作业、达到喷涂全方位、无死角,平整均匀的喷涂效果。

CN206436255U权利要求书

1.一种高层建筑外墙喷涂智能机器人,其特征在于,包括吊篮(1),设置在所述吊篮(1)两端的自动升降机构(2),分别设置在所述吊篮(1)底部的喷料自动上料机(3)、喷料动力驱动机构(4),以及设置在所述吊篮(1)顶部双轨道(10)上的移动式机器人手臂曲伸喷涂机构(5);

所述移动式机器人手臂曲伸喷涂机构(5)包括移动底座(50),设置在所述移动底座(50)顶面一侧的驱动电机(51),所述驱动电机(51)输出轴上设有主动齿轮I(51-1),位于所述驱动电机(51)一侧,底部与所述移动底座(50)顶面相连接的支撑臂(52),所述支撑臂(52)的顶端设有固定板(520),在所述固定板(520)底面与所述移动底座(50)顶面之间设有侧面带有齿槽的导向板(53);

所述移动式机器人手臂曲伸喷涂机构(5)还包括沿所述支撑臂(52)上下滑动的自动喷涂机械臂手,所述自动喷涂机械臂手包括套接在所述支撑臂(52)上的圆环滑套(521),设置在所述圆环滑套(521)上的电机A,所述电机A的输出轴上的主动齿轮与所述导向板(53)侧面上的齿槽啮合;

所述自动喷涂机械臂手还包括连接在所述圆环滑套(521)上的固定套A(54),所述固定套A(54)内镶嵌有支撑杆(55),所述支撑杆(55)顶部铰接有转动轴A, 转动轴A一端部与伺服电机A(56)的输出轴连接,所述转动轴A的另一端连接旋转座(57),所述旋转座(57)由固定套B(570),输出轴连接固定套B(570)的伺服电机B(571)组成,所述固定套B(570)末端设有气雾喷枪(58);

所述喷料自动上料机(3)包括支撑架(30),设置在所述支撑架(30)上的注料罐(31),所述注料罐(31)出料口连接有输料软管(32),在所述注料罐(31)出料口内设有补料阀(33);

所述喷料动力驱动机构(4)包括连通于所述输料软管(32)的注料口(40),连接在所述注料口(40)下方的螺旋输送仓(41),所述螺旋输送仓(41)内的输送转轴通过减速器与电机A的输出轴同轴,所述螺旋输送仓(41)出料口通过快速连接头与所述气雾喷枪(58)输料管相连接;

所述喷料动力驱动机构(4)还包括与所述气雾喷枪(58)的进气口连通的输气管(42)的出气端,所述输气管(42)内设有电控气动开关阀,所述输气管(42)的进气端连接压缩机的进气口。

2.根据权利要求1所述的高层建筑外墙喷涂智能机器人,其特征在于,所述移动底座(50)的底面设有一对与所述双轨道(10)的一轨道(10-1)的两侧挡板相互滑动配合的滑套(50-1),所述双轨道(10)的二轨道(10-2)内侧面上开设若干齿槽;

所述主动齿轮I(51-1)置位于所述双轨道(10)的二轨道(10-2)内,所述主动齿轮I(51-1)与所述二轨道(10-2)内侧面上的齿槽相靠接。

3.根据权利要求1所述的高层建筑外墙喷涂智能机器人,其特征在于,所述自动升降机构(2)包括分别设置在所述吊篮(1)两端的动力电机(20),与所述动力电机的输出轴相连接的吊篮牵引索(21)。

说明书

一种高层建筑外墙喷涂智能机器人

技术领域

本实用新型涉及外墙喷涂设备技术领域,尤其涉及一种高层建筑外墙喷涂智能机器人。

背景技术

国内高层建筑外立面装饰最初始为搭建脚手架和人工相混合的工作模式,这种工作模式不仅费时、费工、效率低,还得随时担心操作人员的安全,这种生产方式也提高了高层建筑外立面的喷涂成本,不仅存在操作人员的生命安全问题,也要承受涂料中有害化学物质对身体的伤害,此外,由于受地域、环境、气候及高温或严寒自然条件因素的影响,喷涂效率也与工作人员的熟练程度、身体状况、精神状况等多种因素相关。

另外,现有的自动喷涂机在高空作业时,不能实现持续供应喷涂材料,不能解决间断施工作业问题,相对地增加了施工成本、施工难度,由于室外高空作业对喷涂厚度、质量不能很好把控,从而影响施工效率,现有的智能喷涂机无法解决工人高空作业的安全隐患问题,也不能通过手机终端模块远程控制喷涂、自动化均匀操作,对施工人员安全构成极大威胁,长时间疲劳工作不能达到稳定的喷涂质量。

随着喷涂行业科技日新月异,以及现代喷涂工艺不断发展和完善,用户对外墙真石漆,喷涂方式、成品合格率要求越来越高,喷涂机器人的出现就成为了必然。因此,在国家大力提倡创新型驱动发展战略指引下,解决现有自动喷涂机存在的上述技术问题是当务之急,一种高层建筑外墙喷涂智能机器人越来越受到各个企业的青睐。

实用新型内容

本实用新型的目的在于提供一种能够集吊篮升降自动控制、影像仪同步传输、红外摄像头对喷涂厚度进行激光测评、上位机自动控制移动式机器人手臂曲伸喷涂机构驱动气雾喷枪360度旋转喷涂的高层建筑外墙喷涂智能机器人。

本实用新型是通过如下措施实现的:本实用新型是针对目前外墙喷涂机作业不能持续供料喷涂施工、作业危险、成本高、效率低等问题,通过操作自动升降机构的吊篮牵引索对吊篮位置进行设定,实现不同高度的建筑外墙喷涂,在气雾喷枪上设有红外摄像头对喷涂外墙表面不同方位、阴阳角、窗台死角进行扫描、对信号进行分析判断,无线传输给上位机,实现数据终端的智能控制;气雾喷枪上安装有测厚仪对喷涂厚度进行检测,将检测数据信号无线传输给上位机控制终端进行分析、判断,根据设定的喷涂厚度进行厚度调整,确保喷涂施工标准和质量;上位机控制端连接有影像仪,通过影像仪对移动式机器人手臂曲伸喷涂机构的作业位置进行监测,再将作业位置信号及时反馈到上位机,提供及时、准确、详实的喷涂数据,从而为操作人员监测喷涂厚度和质量进行及时调整;吊篮上的移动式机器人手臂曲伸喷涂机构的自动喷涂机械臂手可以实现在吊篮的双轨道上左右滑动,气雾喷枪沿支撑臂上下移动,实现大幅度上下垂直喷涂,伺服电机B启动,旋转座转动实现气雾喷枪360度旋转喷涂,整个装置布局合理,动作速度快、可以连续作业、达到全方位、无死角,平整均匀的喷涂效果。

一种高层建筑外墙喷涂智能机器人,其中,包括吊篮,设置在所述吊篮两端的自动升降机构,分别设置在所述吊篮底部的喷料自动上料机、喷料动力驱动机构,以及设置在所述吊篮顶部双轨道上的移动式机器人手臂曲伸喷涂机构。

所述移动式机器人手臂曲伸喷涂机构包括移动底座,设置在所述移动底座顶面一侧的驱动电机,所述驱动电机输出轴上设有主动齿轮I,位于所述驱动电机一侧,底部与所述移动底座顶面相连接的支撑臂,所述支撑臂的顶端设有固定板,在所述固定板底面与所述移动底座顶面之间设有侧面带有齿槽的导向板;在所述导向板上设有将其与所述电机A的输出轴上的主动齿轮容纳的防护罩,防止灰尘、涂料覆盖在导向板的侧面齿槽上。

所述移动式机器人手臂曲伸喷涂机构还包括沿所述支撑臂上下滑动的自动喷涂机械臂手,所述自动喷涂机械臂手包括套接在所述支撑臂上的圆环滑套,设置在所述圆环滑套上的电机A,所述电机A的输出轴上的主动齿轮与所述导向板侧面上的齿槽啮合;

所述自动喷涂机械臂手还包括连接在所述圆环滑套上的固定套A,所述固定套A内镶嵌有支撑杆,所述支撑杆顶部铰接有转动轴A, 转动轴A一端部与伺服电机A的输出轴连接,所述转动轴A的另一端连接旋转座,所述旋转座由固定套B,输出轴连接固定套B的伺服电机B组成,所述固定套B末端设有气雾喷枪。

所述喷料自动上料机包括支撑架,设置在所述支撑架上的注料罐,所述注料罐出料口连接有输料软管,在所述注料罐出料口内设有补料阀。

所述喷料动力驱动机构包括连通于所述输料软管的注料口,连接在所述注料口下方的螺旋输送仓,所述螺旋输送仓内的输送转轴通过减速器与电机A的输出轴同轴,所述螺旋输送仓出料口通过快速连接头与所述气雾喷枪输料管相连接;

所述喷料动力驱动机构还包括与所述气雾喷枪的进气口连通的输气管的出气端,所述输气管内设有电控气动开关阀,所述输气管的进气端连接压缩机的进气口。

所述驱动电机,伺服电机A,伺服电机B,电机A,补料阀,以及电控气动开关阀的电控线路分别与电控箱内上位机的控制端相连接构成控制回路。

所述移动底座的底面设有一对与所述双轨道的一轨道的两侧挡板相互滑动配合的滑套,所述双轨道的二轨道内侧面上开设若干齿槽;

所述主动齿轮置位于所述双轨道的二轨道内,所述主动齿轮与所述二轨道内侧面上的齿槽相靠接。

所述自动升降机构包括分别设置在所述吊篮两端的动力电机,与所述动力电机的输出轴相连接的吊篮牵引索。

所述吊篮由主框架和交错连接在所述主框架上的连杆构成。

所述滑套为两排,其截面为弓形状,所述滑套内侧面上开设有与所述一轨道的两侧挡板相扣合的齿槽。

所述气雾喷枪上设有喷涂质量激光评测系统,利用红外摄像头对喷涂外墙表面不同方位、阴阳角、窗台死角进行扫描、对信号进行分析判断,无线传输给上位机,实现数据终端控制;气雾喷枪上安装有测厚仪对喷涂厚度进行检测,将检测的数据信号无线传输上位机控制终端进行智能终端分析、判断,根据设定的喷涂厚度进行厚度调整,确保喷涂施工标准和质量;上位机控制端连接有影像仪,通过影像仪对移动式机器人手臂曲伸喷涂机构的作业位置进行监测,再将作业位置信号及时反馈到上位机,进行及时、准确、详实的喷涂,从而为操作人员监测喷涂厚度和质量做出及时调整;喷涂质量激光评测系统、测厚仪、上位机控制端连接的影像仪属于本领域的工程技术人员熟知的,故不再赘述。

本实用新型在实际使用时:将吊篮两端的吊篮牵引索连接在高层建筑外墙楼顶的吊臂上,开启动力电机,吊篮牵引索牵拉吊篮至合适的高度,通过操作上位机控制补料阀开启,向喷料自动上料机的注料罐中上涂料,再次开启补料阀,电机A控制电源,涂料经过输料软管输送到螺旋输送仓中,启动驱动电机,因为主动齿轮I与二轨内侧面上齿槽啮合,两排滑套分别与一轨道的两挡板滑动配合,整个移动座在双轨道上左右移动,开启设置在圆环滑套上的电机A,由于电机A的输出轴上的主动齿轮与导向板侧面上的齿槽啮合,圆环滑套沿支撑臂上下移动,开启伺服电机A和伺服电机B,由于转动轴A一端部与伺服电机A的输出轴连接,转动轴A的另一端连接旋转座,伺服电机B输出轴连接固定套B,伺服电机A启动带动转动轴A旋转,伺服电机B输出轴转动使得旋转座和固定套B一同360转动,实现对气雾喷枪的准确定位,启动电机A,通过操作上位机开启电控气动开关阀,在输气管的气压作用下通过气雾喷枪将涂料雾化均匀喷涂在外墙上。

本实用新型的有益效果为:本实用新型中注料罐可持续供料,达到连续作业,提高施工效率,整个装置严格按照上位机中的程序指令进行稳定、重复地作业,气雾喷枪与建筑外墙之间保持着既定的距离,确保喷涂厚度均匀和平整;喷料自动上料机和喷料动力驱动机构可自动调整涂料流量,提供稳定的浆流;运作速度快,可远程操控,自动作业;通过喷涂质量激光评测系统,利用红外摄像头对喷涂外墙表面不同方位、阴阳角、窗台死角进行扫描、对信号进行分析判断,无线传输给上位机,实现数据终端智能控制;气雾喷枪上安装有测厚仪对喷涂厚度进行检测,将检测的数据信号无线传输上位机控制终端进行分析、判断,根据设定的喷涂厚度进行厚度调整,确保喷涂施工标准和质量;上位机控制端连接有影像仪,通过影像仪对移动式机器人手臂曲伸喷涂机构的作业位置进行监测,再将作业位置信号及时反馈到上位机,及时得出准确、详实的喷涂数据,从而为操作人员监测喷涂厚度和质量做出及时调整,对喷涂作业效果可实时查看,方便操作人员及时调整、控制喷涂质量;吊篮上的移动式机器人手臂曲伸喷涂机构的自动喷涂机械臂手的设置实现在吊篮的双轨道上左右滑动,通过驱动电机的输出轴上的主动齿轮与二轨道侧面的齿槽啮合,移动底座底面的两排滑套与一轨道的两侧挡板滑动配合,实现自动喷涂机械臂手平稳地沿双轨道左右滑动,支撑臂上的圆环滑套上的电机A输出轴上的主动齿轮与导向板侧面上的齿槽啮合,达到圆环滑套沿支撑臂上下移动,调整自动喷涂机械臂手垂直方向运动,固定套A内镶嵌有支撑杆,而支撑杆顶部铰接有转动轴A, 转动轴A一端部与伺服电机A的输出轴连接,转动轴A的另一端连接旋转座,旋转座的固定套B连接伺服电机B输出轴,固定套B末端设有气雾喷枪,伺服电机A,伺服电机B的分别带动转动轴A转动,旋转座转动使得气雾喷枪能够360度旋转喷涂,整个装置布局合理,动作速度快、可以连续作业、达到全方位、无死角,平整均匀的喷涂效果。

附图说明

图1 为本实用新型实施例的整体结构示意图。

1.png

图2 为本实用新型实施例中喷料自动上料机、喷料动力驱动机构位置关系结构示意图。

2.png

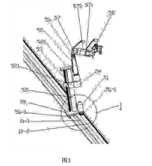
图3 为本实用新型实施例中喷料动力驱动机构、双轨道的位置关系结构示意图。

3.png

图4为图3的I区局部放大结构示意图。

4.png

图5 为本实用新型实施例中喷料动力驱动机构、双轨道的位置关系结构示意图。

5.png

图6 为图5的A区局部剖视图。

6.png

图7为本实用新型实施例中吊篮、吊篮牵引索的连接关系局部结构示意图。

7.png

其中,附图标记为:1、吊篮;1-2、主框架;

2、自动升降机构;20、动力电机;21、吊篮牵引索;

3、喷料自动上料机;30、支撑架;31、注料罐;32、输料软管;33、补料阀;

4、喷料动力驱动机构;40、注料口;41、螺旋输送仓;42、输气管;

10、双轨道;10-1、一轨道; 10-2、二轨道;

5、移动式机器人手臂曲伸喷涂机构;50、移动底座;50-1、滑套;51、驱动电机;51-1、主动齿轮I;52、支撑臂;521、固定板;53、导向板;54、固定套A;55、支撑杆;56、伺服电机A;57、旋转座;570、固定套B;571、伺服电机B;58、气雾喷枪。

具体实施方式

为能清楚说明本方案的技术特点,下面通过具体实施方式,对本方案进行阐述。

参见图1至图5,本实用新型是:一种高层建筑外墙喷涂智能机器人,其中,包括吊篮1,设置在吊篮1两端的自动升降机构2,分别设置在吊篮1底部的喷料自动上料机3、喷料动力驱动机构4,以及设置在吊篮1顶部双轨道10上的移动式机器人手臂曲伸喷涂机构5。

移动式机器人手臂曲伸喷涂机构5包括移动底座50,设置在移动底座50顶面一侧的驱动电机51,驱动电机51输出轴上设有主动齿轮I51-1,位于驱动电机51一侧,底部与移动底座50顶面相连接的支撑臂52,支撑臂52的顶端设有固定板520,在固定板520底面与移动底座50顶面之间设有侧面带有齿槽的导向板53;在所述导向板53上设有将其与所述电机A的输出轴上的主动齿轮容纳的防护罩,防止灰尘、涂料覆盖在导向板53的侧面齿槽上。

移动式机器人手臂曲伸喷涂机构5还包括沿支撑臂52上下滑动的自动喷涂机械臂手,自动喷涂机械臂手包括套接在支撑臂52上的圆环滑套521,设置在圆环滑套521上的电机A,电机A的输出轴上的主动齿轮与导向板53侧面上的齿槽啮合;

自动喷涂机械臂手还包括连接在圆环滑套521上的固定套A54,固定套A54内镶嵌有支撑杆55,支撑杆55顶部铰接有转动轴A, 转动轴A一端部与伺服电机A56的输出轴连接,转动轴A的另一端连接旋转座57,旋转座57由固定套B570,输出轴连接固定套B570的伺服电机B571组成,固定套B570末端设有气雾喷枪58。

喷料自动上料机3包括支撑架30,设置在支撑架30上的注料罐31,注料罐31出料口连接有输料软管32,在注料罐31出料口内设有补料阀33。

喷料动力驱动机构4包括连通于输料软管32的注料口40,连接在注料口40下方的螺旋输送仓41,螺旋输送仓41内的输送转轴通过减速器与电机A的输出轴同轴,螺旋输送仓41出料口通过快速连接头与气雾喷枪58输料管相连接;

喷料动力驱动机构4还包括与气雾喷枪58的进气口连通的输气管42的出气端,输气管42内设有电控气动开关阀,输气管42的进气端连接压缩机的进气口。

驱动电机51,伺服电机A56,伺服电机B571,电机A,补料阀33,以及电控气动开关阀的电控线路分别与电控箱内上位机的控制端相连接构成控制回路。

移动底座50的底面设有一对与双轨道10的一轨道10-1的两侧挡板相互滑动配合的滑套50-1,双轨道10的二轨道10-2内侧面上开设若干齿槽;

主动齿轮51-1置位于双轨道10的二轨道10-2内,主动齿轮51-1与二轨道10-2内侧面上的齿槽相靠接。

自动升降机构2包括分别设置在吊篮1两端的动力电机20,与动力电机的输出轴相连接的吊篮牵引索21。

吊篮1由主框架1-2和交错连接在主框架1-2上的连杆构成。

滑套50-1为两排,其截面为弓形状,所述滑套50-1内侧面上开设有与所述一轨道10-1的两侧挡板相扣合的齿槽。

所述气雾喷枪上设有喷涂质量激光评测系统,利用红外摄像头对喷涂外墙表面不同方位、阴阳角、窗台死角进行扫描、对信号进行分析判断,无线传输给上位机,实现数据终端控制;气雾喷枪上安装有测厚仪对喷涂厚度进行检测,将检测的数据信号无线传输上位机控制终端进行智能终端分析、判断,根据设定的喷涂厚度进行厚度调整,确保喷涂施工标准和质量;上位机控制端连接有影像仪,通过影像仪对移动式机器人手臂曲伸喷涂机构的作业位置进行监测,再将作业位置信号及时反馈到上位机,进行及时、准确、详实的喷涂,从而为操作人员监测喷涂厚度和质量做出及时调整;喷涂质量激光评测系统、测厚仪、上位机控制端连接的影像仪属于本领域的工程技术人员熟知的,故不再赘述。

本实用新型在实际使用时:将吊篮1两端的吊篮牵引索21连接在高层建筑外墙楼顶的吊臂上,开启动力电机20,吊篮牵引索21,牵拉吊篮1至合适的高度,通过操作上位机控制补料阀33开启,向喷料自动上料机3的注料罐31中上涂料,再次开启补料阀33,电机A控制电源,涂料经过输料软管32输送到螺旋输送仓41中,启动驱动电机51,由于主动齿轮I 51-1与二轨到10-2内侧面上齿槽啮合,两排滑套50-1分别与一轨道10-1的两挡板滑动配合,整个移动座在双轨道10左右移动,开启设置在圆环滑套521上的电机A,由于电机A的输出轴上的主动齿轮与导向板53侧面上的齿槽啮合,圆环滑套521沿支撑臂52上下移动,开启伺服电机A56和伺服电机B571,由于转动轴A一端部与伺服电机A56的输出轴连接,转动轴A的另一端连接旋转座57,伺服电机B571输出轴连接固定套B570,伺服电机A56启动,转动轴A旋转,伺服电机B571输出轴转动带动旋转座57和固定套B570一同360转动,实现对气雾喷枪58的准确定位,启动电机A,通过操作上位机开启电控气动开关阀,在输气管的气压作用下通过气雾喷枪58将涂料雾化均匀喷涂在外墙上。

本实用新型未经描述的技术特征可以通过或采用现有技术实现,在此不再赘述,当然,上述说明并非是对本实用新型的限制,本实用新型也并不仅限于上述举例,本技术领域的普通技术人员在本实用新型的实质范围内所做出的变化、改型、添加或替换,也应属于本实用新型的保护范围。


给您喜欢的文章打个分呗!
(0)

专家库申请

Expert Apply

申请须知:

  • 1、

    具有涂料行业多年技术从业经验

  • 2、

    对涂料技术及工艺应用具有独到的见解

  • 3、

    解读涂料行业政策、法规、标准

  • 4、

    热衷于分享化工涂料行业技术知识和丰富的行业经验

申请加入

您的申请已经提交
管理员会在1个工作日内审核

查看进度

专家信息审核未通过
请您返回修改相关资料,重新提交申请

重新申请

0

发布文章

0

文章点击

0

专家点击

发布技术文献 申请在线课堂开课
专家排行

申请加入专家库

*姓名: 姓名不能为空
*公司名称: 公司名称不能为空
*职位: 职位不能为空
*电子邮件:
*手机号码: 手机号码不能为空
*您所在行业:
化工
塑料
涂料
其他
请选择您所在行业
*您最擅长的领域:
1:
2:
3:
请选择您擅长的领域
*您的个人头像(要求200*200像素,或正方形涂料,小于1M,白底,免冠):
请上传您的个人头像
*自我介绍:
自我介绍不能为空 自我介绍不能超过1000字
《买化塑专家入驻协议》 请勾选《买化塑专家入驻协议》

关于我们 法律声明 联系我们 网站地图

COPYRIGHT©广州慧正云科技有限公司 www.ibuychem.com

粤ICP备18136962号增值电信业务经营许可证:粤B2-20201000